ISO 2009 Senkschrauben mit Schlitz
ähnlich DIN 963 Senkschrauben mit Schlitz: Kopfhöhen (k) und Kopfdurchmesser (dk) ab M 3 geändert

sind Gewindeschrauben mit metrischen Regelgewinde (M) und einem versenkbaren Senkkopf. Der Senkkopf sorgt dafür, dass die Schraube - wenn vorgesenkt wurde - plan mit dem Untergrund abschließt. Außerdem erreicht man dadurch eine bessere Verbindung, da die Schraube in das Material eintaucht. Als Antrieb haben sie einen Längsschlitz, der immer seltener eingesetzt wird. mehr ...


Technische Maße für ISO 2009 Senkschrauben mit Schlitz

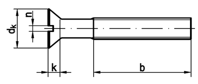
Legende:
Maße
= Durchmesser metrisches Gewinde (M) (Nennmaß)
dk
= Durchmesser-Kopf
k
= Höhe-Kopf
b min.
= Länge-Gewinde
n
= Antrieb-Schlitz-Breite

MaßeM 1M 1,2M 1,4M 1,6M2M 2,5M 3M 3,5M 4
dk1,92,32,633,84,75,57,38,4
k0,60,720,8411,21,51,652,352,7
b min.---151618193822
n0,250,30,30,40,50,60,811,2
MaßeM 5M 6M 8M 10M 12M 16M 20  
dk9,311,315,818,3222936  
k2,73,34,6556810  
b min.25283440465870  
n1,21,622,5345  

weitere Informationen

 

Wo werden ISO 2009 Senkschrauben mit Schlitz verwendet?

Häufig werden ISO 2009 Senkschrauben mit Schlitz im Maschinen- und Anlagenbau, Elektrotechnik, Modellbau oder für Oldtimer-Autos oder Motorräder zum Verschrauben von Bauteilen, Verkleidungen oder Gehäusen verwendet.

 

Rosetten als Zubehör für Senkschrauben

Zur Vergrößerung der Auflagefläche und als optisches Element werden Senkschrauben häufig in Verbindung mit Rosetten verarbeitet. Dies kann über gestanzte (günstigere) oder Rosetten aus Vollmetall erfolgen. Wir bieten auch Senkrosetten.

 

Lieferbare Werkstoffe für ISO 2009 Senkschrauben mit Schlitz

Diese Schraube bieten wir in sehr vielen Werkstoffen an. So z. B. Messing blank, blank gedreht oder Messing vernickelt. Ebenso in Polyamid natur (Farbton circa Hautfarben), Stahl 4.8 blank, blank gedreht oder gelb verzinkt sowie hochfestem Stahl der Klasse 8.8. Edelstahl Rostfrei A2 eignet sich für Anwendungen im Außenbereich aber ohne dauerhaften Kontakt mit Wasser. Edelstahl Rostfrei A4 verträgt Dauerkontakt mit Wasser, Salzwasser oder bestimmten Säuren. Edelstahl Rostfrei A1 ist ein etwas weicherer Werkstoff, in welchem wir diese Schraube auch anbieten.

Alle Angaben ohne Gewähr, Gewährleistung oder Haftung.


Version 3.24.2 - Servername: WEBAPP12


 
 Warenkorb
Zur Kasse | Drucken
 
Ihr Warenkorb ist leer

DIN 985 Sechskantmuttern, Polyamidklemmteil, niedrige Form (=Standard)

DIN 985 Sechskantmuttern, Polyamidklemmteil, niedrige Form (=Standard)
 
Artikel-Nr. 3346-234
Werkstoff ROSTFREI A2
Norm DIN 985
Abmessung M 4

DIN 7981 Linsen-Blechschrauben mit Innensechsrund (TX), C= mit Spitze

DIN 7981 Linsen-Blechschrauben mit Innensechsrund (TX), C= mit Spitze
 
Artikel-Nr. 4273-023
Werkstoff ROSTFREI A4
Norm DIN 7981TX
Abmessung C 5,5 x 120 TX
Hier finden Sie das zuletzt angesehene Produkt
Unsere App - jetzt online!
NEU im Sortiment: Zusätzlich über 15.000 neue Kleinmengen
Zertifizierung

Kundenbewertungen (2.152)
So entstehen unsere Kundenbewertungen

Unsere Kundenbewertungen einschließlich der Sternebewertungen können nur nach Bestellabschluss erstellt werden.

Dadurch ist sichergestellt, dass unser Bestellprozess, unser Service sowie unsere Produkte von echten Kunden bewertet werden, die ihre Erfahrungen mit ihnen teilen möchten.


"ja, alle beim THW finden den Shop toll ;-)"
-

"war alles gut. Schwierigkeiten habe ich immer mal wieder (nicht nur bei euch) dadurch, dass die Nummern unterschiedlich heißen: - Bestellnummer, Artikelnummer - Auftragsnummer, Bestellnummer, Verwendungszweck"
- Matthias Schwarz

"Alles toll, da ich das erste Mal bei Euch bestelle, kann ich zu der Lieferzeit und Verpackung nichts sagen. Ein entspanntes Wochenende und ich hoffe, das GLS morgen anliefert... ;-)"
- Michael Diekmann

"gern wieder"
- Sven Wallasch

"Ihr seid prima! Die schnelle Lieferung spart Lagerkosten. Auch die Maßübersichten sind prima! Grade bei Normteilen ist es schön, so einen verläßlichen Lieferanten zu haben - eine Sorge weniger! "
-

Unsere Cookie-Richtlinien

Wir nutzen Cookies, um unsere Seite für Sie bestmöglich zu gestalten und dauerhaft zu verbessern. Weitere Informationen erhalten Sie in unserer Datenschutzerklärung. Ohne Ihre Zustimmung werden nur technisch notwendige Cookies verwendet.
AKZEPTIEREN
ABLEHNEN