DIN 917 Sechskant-Hutmuttern niedrige Form

DIN 917 Sechskant-Hutmuttern niedrige Form sind Sechskantmuttern mit einem eher kleinen, oben abgerundeten Abschluss. Umgangssprachlich werden sie auch Mützenmutter, Haubenmutter oder Melonenmutter genannt. Dabei handelt es sich um Muttern, die auf einer Seite fest verschlossen sind. Sie haben ein metrisches Regelgewinde (M). mehr ...


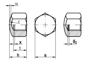
Technische Maße für DIN 917 Sechskant-Hutmuttern niedrige Form

Legende:
Maße
= Durchmesser für metrisches Maß (M) (Nennmaß)
h
= Höhe-Gesamt
s nach DIN
= Schlüsselweite
x max / g2 max
= Länge-Gewindeauslauf(x)/Freistich(g)
r
= Radius-Hut
t min
= Tiefe-Gewinde (nutzbar)
w min
= Höhe-Hut

Maße M 4 M 5 M 6 M 8 M 10 M 12 M 14 M 16 M 18 M 20 M 22 M 24 M 30 M 36
x max / g2 max 1,05 1,2 1,5 1,87 2,25 6,4 7,3 7,3 9,3 9,3 9,3 10,7 12,7 14
h 5,5 7,0 9,0 12,0 14,0 16,0 18,0 20,0 22,0 25,0 28,0 30,0 34,0 44,0
r 8 10 12 15 20 25 28 30 32 35 35 40 60 70
s nach DIN 7 8 10 13 17 19 22 24 27 30 32 36 46 55
t min 4,16 4,96 6,71 9,21 10,65 13,15 14,65 16,65 18,58 20,58 21,58 23,58 27,58 35,50
w min 1 1 1,5 2 2 2 2 2 2 2,5 3 3 3 4

weitere Informationen

 

Wann verwendet man DIN 917 Sechskant-Hutmuttern niedrige Form?

Hutmuttern verwendet man immer dann, wenn der Schraubenkopf vor Witterung geschützt werden soll (z. B. im Holzbau), wenn man Menschen vor den scharfen Kanten eines Schraubenkopfes schützen will (z. B. bei Fitness-Geräten, Kinderspielzeug) oder aus optischen Gründen. Hutmuttern haben meist einen Außensechskant und können daher fest nur mit Werkzeug, z. B. einem Schraubenschlüssel oder einer Stecknuss angezogen werden. Achtung: drehen Sie eine Hutmutter nie zu fest an. Da der Kopf meist nicht aus dem Vollmetall gedreht sondern nur angepresst ist, kann es sein, dass bei zu großer Krafteinwirkung der Kopf abgesprengt wird.

 

Hutmuttern im Außenbereich, Werkstoffe

Da ein Zweck der Hutmutter der Schutz vor Verwitterung ist, sollte die Hutmutter selbst nicht rosten. Daher verwenden die Meisten Hutmuttern aus Edelstahl Rostfrei A2 oder bei Salz- oder Säurekontakt A4. Darüber hinaus bieten wir diese Muttern auch in Messing, Stahl 6 blank und verzinkt an.

Alle Angaben ohne Gewähr, Gewährleistung oder Haftung.


Version 3.24.2 - Servername: WEBAPP12


 
 Warenkorb
Zur Kasse | Drucken
 
Ihr Warenkorb ist leer

DIN 912 Zylinderschrauben, mit Innensechskant

DIN 912 Zylinderschrauben, mit Innensechskant
 
Artikel-Nr. 2534-430
Werkstoff ROSTFREI A2
Norm DIN 912
Abmessung M 6 x 25

Art. Senkkopf -Spanplattenschrauben Fräsrippen, Schneidkerbe, Innensechsrund (TX)

Art. Senkkopf -Spanplattenschrauben Fräsrippen, Schneidkerbe, Innensechsrund (TX)
 
Artikel-Nr. 4291-123
Werkstoff ROSTFREI A2
Norm Art. 81928
Abmessung 10 x 150 TX

ISO 1234 Splinte

ISO 1234 Splinte
 
Artikelgruppe 4692
Werkstoff MESSING
Norm ISO 1234
Unsere App - jetzt online!
Die Wegertseder-App: Immer und überall bequem bestellen
Zertifizierung

Kundenbewertungen (2.118)
So entstehen unsere Kundenbewertungen

Unsere Kundenbewertungen einschließlich der Sternebewertungen können nur nach Bestellabschluss erstellt werden.

Dadurch ist sichergestellt, dass unser Bestellprozess, unser Service sowie unsere Produkte von echten Kunden bewertet werden, die ihre Erfahrungen mit ihnen teilen möchten.


"Sehr gut ist, dass man nach DIN-Nummern suchen kann und vor allem, dass man sich die DIN-Tabellen herunterladen kann. Aus diesem Grund bestelle ich immer wieder hier, da das andere nicht bieten."
- Matthias Zander

"Alles tiptop. Ich bestelle sehr gerne bei Ihnen. :-)"
-

"Weiter so !"
-

"gern wieder"
- Sven Wallasch

"Bin seit Jahren Kunde bei Ihnen und war bisher immer zufrieden..."
- Wolfgang Kehl

Unsere Cookie-Richtlinien

Wir nutzen Cookies, um unsere Seite für Sie bestmöglich zu gestalten und dauerhaft zu verbessern. Weitere Informationen erhalten Sie in unserer Datenschutzerklärung. Ohne Ihre Zustimmung werden nur technisch notwendige Cookies verwendet.
AKZEPTIEREN
ABLEHNEN