DIN 7979 Zylinderstifte mit Innengewinde, Toleranzfeld m6, D= gehärtet (ISO 8733, 8735)

DIN 7979 Zylinderstifte mit Innengewinde, Toleranzfeld m6, D= gehärtet sind im Wesentlichen gewindelose Kegelstifte, die als Besonderheit auf einer Seite ein Sacklochgewinde mit metrischem Regelgewinde (M) haben. Sie besitzen eine zylindrische Form, haben also an beiden Enden denselben Außendurchmesser. Auf einer Seite haben diese Zylinderstifte ein metrisches Innengewinde (M), das rechtsgängig ist. Dadurch kann z.B. ein Gewindestift eingedreht werden. Der gewindelose Stift wird vor allem im Maschinen- und Anlagenbau zur Verbindung von Bauteilen verwendet. Auf der anderen Seite kann der Kegelstift mit Gewindezapfen in ein Mutterngewinde eingebracht werden. DIN 7979 Zylinderstifte mit Innengewinde liefern wir in Stahl blank.


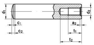
Technische Maße für DIN 7979 Zylinderstifte mit Innengewinde, Toleranzfeld m6, D= gehärtet (ISO 8733, 8735)

Legende:
d1 m6
= Durchmesser (Nennmaß)
c2
= Höhe-Stumpf
d2
= Durchmesser für metrisches Maß (M) (Nennmaß)
c1
= Höhe-Kopf
t2 min
= Tiefe-Inneneinsatz
t1
= Tiefe-Innengewinde
a2
= Länge-Fase

d1 m6 4 5 6 8 10 12 14 16 20 25 30 40
a2 0,5 0,6 0,8 1 1,2 1,6 1,8 2 2,5 3 4 5
c1 0,4 0,5 0,6 0,8 1 1,2 1,4 1,6 2 2,5 3 4
c2 1,3 1,7 2,1 2,6 3 3,8 4 4,7 6 6 7 8
d2 M 2 /M 3 M 3 M 4 M 5 M 6 M 6 M 8 M 8 M 10 M 16 M 20 M 20
t1 6 6 6 8 10 10 12 12 16 24 30 30
t2 min 7 7 10 12 16 16 20 20 25 34 42 42

weitere Informationen

Alle Angaben ohne Gewähr, Gewährleistung oder Haftung.


Version 3.24.2 - Servername: WEBAPP12


 
 Warenkorb
Zur Kasse | Drucken
 
Ihr Warenkorb ist leer

DIN 912 Zylinderschrauben, mit Innensechskant

DIN 912 Zylinderschrauben, mit Innensechskant
 
Artikel-Nr. 2524-043
Werkstoff STAHL 8.8 - verzinkt
Norm DIN 912
Abmessung M 5 x 16

DIN 7982 Senk-Blechschrauben mit Innensechsrund (TX), C= mit Spitze

DIN 7982 Senk-Blechschrauben mit Innensechsrund (TX), C= mit Spitze
 
Artikel-Nr. 4277-013
Werkstoff ROSTFREI A4
Norm DIN 7982TX
Abmessung C 4,8 x 110 TX
Hier finden Sie das zuletzt angesehene Produkt
Unsere App - jetzt online!
NEU im Sortiment: Zusätzlich über 15.000 neue Kleinmengen
Zertifizierung

Kundenbewertungen (2.155)
So entstehen unsere Kundenbewertungen

Unsere Kundenbewertungen einschließlich der Sternebewertungen können nur nach Bestellabschluss erstellt werden.

Dadurch ist sichergestellt, dass unser Bestellprozess, unser Service sowie unsere Produkte von echten Kunden bewertet werden, die ihre Erfahrungen mit ihnen teilen möchten.


"Bin zwar nicht oft hier, aber immer sehr gerne :-)"
-

"Seit 35 Jahren zufriedener Kunde"
- Jürgen Haus

"Alles gut, bitte weiter so!"
- Michael Klemm

"Weiter so!!!!"
-

"Bin seit Jahren Kunde bei Ihnen und war bisher immer zufrieden..."
- Wolfgang Kehl

Unsere Cookie-Richtlinien

Wir nutzen Cookies, um unsere Seite für Sie bestmöglich zu gestalten und dauerhaft zu verbessern. Weitere Informationen erhalten Sie in unserer Datenschutzerklärung. Ohne Ihre Zustimmung werden nur technisch notwendige Cookies verwendet.
AKZEPTIEREN
ABLEHNEN