Art. Hammerkopf-Gewindeplatten (Gleitmuttern) für Profil 28/15

Hakenkopf-Gewindeplatten (Gleitmuttern) für Profil 28/15 sind Gewindeplatten mit einem metrischen Innengewinde (M), welche zusammen mit Halfenschrauben oder Hammerkopfschrauben besonders im Stahl- und Anlagen-, Maschinen- und Fahrzeugbau verwendet werden. Sie sind kompatibel mit Halfenschrauben und werden von uns in den Werkstoffen Stahl blank und Stahl galvanisch verzinkt angeboten. Damit werden Stahlhallen, Balkone, Maschinen oder Anlagen verschraubt. mehr ...


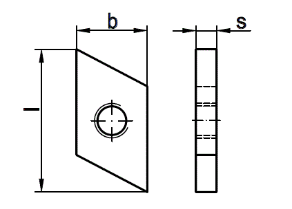
Technische Maße für Art. Hammerkopf-Gewindeplatten (Gleitmuttern) für Profil 28/15

Legende:
Maße (d)
= Durchmesser für metrisches Maß (M) (Nennmaß)
h
= Höhe-Mutter
l
= Länge
b
= Breite

Maße (d) M6 M8 M10
l 27,7 27,7 29,3
b 12,6 12,6 17,4
h 4 4 5

weitere Informationen

 

Unterschiede bei Gleitmuttern

Die angebotenen Gleitmuttern unterscheiden sich in der Größe für unterschiedliche Profil-Größen. Diese Gleitmutter ist geeignet für das Profil 28/15.

 

Formen und Werkstoffe

Auf Stahlbau- und Halfenschrauben wirken meist hohe Kräfte. Daher werden sie oft in festen Werkstoffen wie Stahl 8.8, 10.9 oder sogar 12.9 verbaut. Der bevorzugte Werkstoff ist blanker Stahl, der manchmal gegen Korrosion mit einer Oberflächenbehandlung (z. B. galvanische Verzinkung, Zinklamellenbeschichtung) geschützt wird. Die Köpfe dieser Stahlbau- und Halfenschrauben sind als Außensechskant oder Senkkopf ausgeführt.

Als passendes Zubehör liefern wir Stahlbau-Muttern, Stahlbau-Scheiben (auch vierkant und mit Neigung).

 

Halfen-Schrauben als Sonderform

Eine besondere Stellung unter den Stahlbauschrauben haben die Halfen-Schrauben. Sie haben einen speziellen Kopf, den Haken- oder Halfenkopf. Damit können sie optimal in Stahlprofile eingepasst werden. Dazu liefern wir auch die passenden Halfen-Muttern.

Alle Angaben ohne Gewähr, Gewährleistung oder Haftung.


Version 3.24.2 - Servername: WEBAPP11


 
 Warenkorb
Zur Kasse | Drucken
 
Ihr Warenkorb ist leer

DIN 125 Unterlegscheiben Form A

DIN 125 Unterlegscheiben Form A
 
Artikel-Nr. 1498-306
Werkstoff ROSTFREI A2
Norm DIN 125A
Abmessung A 8,4 f. M 8

DIN 1475 Knebelkerbstifte

DIN 1475 Knebelkerbstifte
 
Artikel-Nr. 4373-015
Werkstoff ROSTFREI A1
Norm DIN 1475
Abmessung 5 x 45
Hier finden Sie das zuletzt angesehene Produkt
Unsere App - jetzt online!
NEU im Sortiment: Zusätzlich über 15.000 neue Kleinmengen
Zertifizierung

Kundenbewertungen (2.155)
So entstehen unsere Kundenbewertungen

Unsere Kundenbewertungen einschließlich der Sternebewertungen können nur nach Bestellabschluss erstellt werden.

Dadurch ist sichergestellt, dass unser Bestellprozess, unser Service sowie unsere Produkte von echten Kunden bewertet werden, die ihre Erfahrungen mit ihnen teilen möchten.


"Sehr freundlicher Kontakt mit Frau Stockbauer. Danke für die Hilfe."
-

"Klasse WebShop! Kurz war ich verunsichert, wie ich die Menge anzugeben habe: Nach Paket oder tatsächliche Stückzahl. Aber da kommt man schnell dahinter. Wie gesagt - KLASSE!"
- Eberhard Stollsteimer

"Vor vielen Jahren habe ich das erste Mal bei Ihnen bestellt und war sehr zufrieden. Jetzt habe ich - endlich - ein Kundenkonto angelegt."
- Jürgen Schmidt

"positiv"
-

"Bin seit Jahren Kunde bei Ihnen und war bisher immer zufrieden..."
- Wolfgang Kehl

Unsere Cookie-Richtlinien

Wir nutzen Cookies, um unsere Seite für Sie bestmöglich zu gestalten und dauerhaft zu verbessern. Weitere Informationen erhalten Sie in unserer Datenschutzerklärung. Ohne Ihre Zustimmung werden nur technisch notwendige Cookies verwendet.
AKZEPTIEREN
ABLEHNEN