Art. Hakenkopf-Gewindeplatten (Gleitmuttern) für Profil 50/30

Hakenkopf-Gewindeplatten (Gleitmuttern) für Profil 50/30 sind Gewindeplatten mit einem metrischen Innengewinde (M), welche zusammen mit Halfenschrauben oder Hammerkopfschrauben besonders im Stahl- und Anlagen-, Maschinen- und Fahrzeugbau verwendet werden. Sie sind kompatibel mit Halfenschrauben und werden von uns in den Werkstoffen Stahl blank und Stahl galvanisch verzinkt angeboten. Damit werden Stahlhallen, Balkone, Maschinen oder Anlagen verschraubt. mehr ...


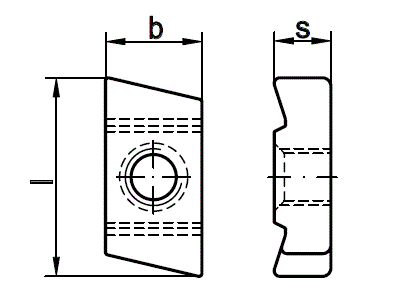
Technische Maße für Art. Hakenkopf-Gewindeplatten (Gleitmuttern) für Profil 50/30

Legende:
Maße
= Durchmesser für metrisches Maß (M) (Nennmaß)
h
= Höhe-Mutter
l
= Länge
b
= Breite

Maße M8 M10 M12 M16
l 42 42 42 42
b 21 21 21 21
h 12 12 12 13

weitere Informationen

 

Unterschiede bei Gleitmuttern

Die angebotenen Gleitmuttern unterscheiden sich in der Größe für unterschiedliche Profil-Größen. Diese Gleitmutter ist geeignet für das Profil 50/30.

 

Formen und Werkstoffe

Auf Stahlbau- und Halfenschrauben wirken meist hohe Kräfte. Daher werden sie oft in festen Werkstoffen wie Stahl 8.8, 10.9 oder sogar 12.9 verbaut. Der bevorzugte Werkstoff ist blanker Stahl, der manchmal gegen Korrosion mit einer Oberflächenbehandlung (z. B. galvanische Verzinkung, Zinklamellenbeschichtung) geschützt wird. Die Köpfe dieser Stahlbau- und Halfenschrauben sind als Außensechskant oder Senkkopf ausgeführt.

Als passendes Zubehör liefern wir Stahlbau-Muttern, Stahlbau-Scheiben (auch vierkant und mit Neigung).

Alle Angaben ohne Gewähr, Gewährleistung oder Haftung.


Version 3.24.2 - Servername: WEBAPP12


 
 Warenkorb
Zur Kasse | Drucken
 
Ihr Warenkorb ist leer

DIN 912 Zylinderschrauben, mit Innensechskant

DIN 912 Zylinderschrauben, mit Innensechskant
 
Artikel-Nr. 2524-112
Werkstoff STAHL 8.8 - verzinkt
Norm DIN 912
Abmessung M 8 x 30

DIN 7504 Bohrschrauben P mit Senkkopf, Blechschraubengewinde PH-Kreuzschlitz

DIN 7504 Bohrschrauben P mit Senkkopf, Blechschraubengewinde PH-Kreuzschlitz
 
Artikel-Nr. 4267-025
Werkstoff ROSTFREI A2
Norm DIN 7504P
Abmessung P 5,5 x 90 H
Hier finden Sie das zuletzt angesehene Produkt
Unsere App - jetzt online!
NEU im Sortiment: Zusätzlich über 15.000 neue Kleinmengen
Zertifizierung

Kundenbewertungen (2.153)
So entstehen unsere Kundenbewertungen

Unsere Kundenbewertungen einschließlich der Sternebewertungen können nur nach Bestellabschluss erstellt werden.

Dadurch ist sichergestellt, dass unser Bestellprozess, unser Service sowie unsere Produkte von echten Kunden bewertet werden, die ihre Erfahrungen mit ihnen teilen möchten.


"Wie immer schnell und gut, bitte weitermachen so"
-

"Alles bestens schnelle Lieferungen"
- Marko Hanke

"Einfacher Bestellprozess wenn man mal herausgefunden hat, wie man wieder auf die Startseite mit der Produktübersicht zurückkommt... Hier wäre ein dauerhafter Link in der Navigationsspalte links hilfreich."
-

"Ich habe bis heute noch nichts zu Beanstanden."
- Richard Fiedler jun.

"Weiter so!!!!"
-

Unsere Cookie-Richtlinien

Wir nutzen Cookies, um unsere Seite für Sie bestmöglich zu gestalten und dauerhaft zu verbessern. Weitere Informationen erhalten Sie in unserer Datenschutzerklärung. Ohne Ihre Zustimmung werden nur technisch notwendige Cookies verwendet.
AKZEPTIEREN
ABLEHNEN