Ösenschrauben

Ösenschrauben mit Holzgewinde sind ein geformter Blechdraht mit einem Gewinde für Holz auf der einen und einem geschlossenen runden Ösenkopf auf der anderen Seite. Sie werden verwendet, um Gegenstände zu befestigen, z. B. Spiegel, Uhren, Bilder. Sie können Schraubhaken mit Holzgewinde direkt in das Material eindrehen. Bei Hartholz kann vorgebohrt werden. mehr ...


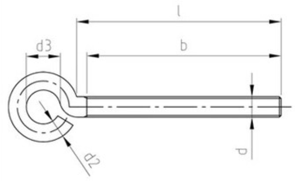
Technische Maße für Ösenschrauben

Legende:
Maße (d)
= Durchmesser Drahtstärke (Nennmaß)
d4
= Durchmesser-Innen Haken / Öse
b
= Länge-Gewinde
d2
= Durchmesser/Drahtstärke
l
= Länge-Gesamt

Maße (d) 3,5 4 4,5 4,7 5,25
l 20 30 40 30 30
b 13 20 25 20 17
d2 3,1 3,5 3,8 4,2 4,2
d4 10 8 16 8 10

weitere Informationen

 

Dimensionierung von Ösenschrauben mit Holzgewinde

Sie sollten Schraubhaken richtig dimensionieren. Eine genaue Auskunft über die Tragfähigkeit ist nur bei genormten, bauaufsichtlich zugelassenen Haken möglich. Handelsübliche Schraubhaken sollten Sie mit gesundem Menschenverstand belasten. Es gilt der Grundsatz: mehr Tragkraft bei höherem Drahtdurchmesser. Für Schaukeln sollten Sie unbedingt unsere Schaukelhaken mit TÜV-Zulassung verwenden.

 

Ösenschrauben mit Holzgewinde liefern wir in Edelstahl Rostfrei A2, der rostbeständig ist, wenn er nicht dauerhaft Kontakt mit Wasser hat. An Luftsauerstoff rostet dieser Werkstoff nicht.

Alle Angaben ohne Gewähr, Gewährleistung oder Haftung.


Version 3.24.4 - Servername: WEBAPP11


 
 Warenkorb
Zur Kasse | Drucken
 
Ihr Warenkorb ist leer

DIN 934 Sechskantmuttern

DIN 934 Sechskantmuttern
 
Artikel-Nr. 2896-162
Werkstoff ROSTFREI A2
Norm DIN 934
Abmessung M 10

Art. Senkkopf -Spanplattenschrauben Fräsrippen, Schneidkerbe, Innensechsrund (TX)

Art. Senkkopf -Spanplattenschrauben Fräsrippen, Schneidkerbe, Innensechsrund (TX)
 
Artikel-Nr. 4291-048
Werkstoff ROSTFREI A2
Norm Art. 81928
Abmessung 6 x 45 TX
Hier finden Sie das zuletzt angesehene Produkt
Unsere App - jetzt online!
Die Wegertseder-App: Große Auswahl an Schrauben, Muttern, Nieten, ...
Zertifizierung

Kundenbewertungen (2.302)
So entstehen unsere Kundenbewertungen

Unsere Kundenbewertungen einschließlich der Sternebewertungen können nur nach Bestellabschluss erstellt werden.

Dadurch ist sichergestellt, dass unser Bestellprozess, unser Service sowie unsere Produkte von echten Kunden bewertet werden, die ihre Erfahrungen mit ihnen teilen möchten.


"Wie immer schnell und gut, bitte weitermachen so"
-

"TOP weiter so * * * * *"
- Uwe Krippner

"Gehört zu den Standardshops auf meiner Online-Einkaufsliste! Hier finde ich schnell, was ich suche!"
- Hans-Karl Becker

"immer sehr gute Erklärung/Info, denn ich habe keinerlei technische Ausbildung, nur Hobby/Landwirtschaft"
- Friedrich Rauchenwald

"Klasse WebShop! Kurz war ich verunsichert, wie ich die Menge anzugeben habe: Nach Paket oder tatsächliche Stückzahl. Aber da kommt man schnell dahinter. Wie gesagt - KLASSE!"
- Eberhard Stollsteimer

Unsere Cookie-Richtlinien

Wir nutzen Cookies, um unsere Seite für Sie bestmöglich zu gestalten und dauerhaft zu verbessern. Weitere Informationen erhalten Sie in unserer Datenschutzerklärung. Ohne Ihre Zustimmung werden nur technisch notwendige Cookies verwendet.
AKZEPTIEREN
ABLEHNEN