DIN 981 Nutmuttern

sind runde Maschinenelemente mit vier Schlitzen (= Nut) zur axialen Sicherung von Welle-Nabe-Verbindungen, z.B. von Zahnrädern auf einer Welle. Sie haben einen großen Innen- aber kleinen Außendurchmesser. Das Innengewinde ist als metrisches Feingewinde ausgeführt. Feingewinde hat je Zentimeter mehr Gewindegänge. Die Schraubenverbindung hält somit fester, man benötigt aber auch mehr Umdrehungen zur Montage. Nutmuttern werden mit einem Hakenschlüssel, auch Nutmutternschlüssel genannt, montiert. mehr ...


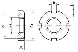
Technische Maße für DIN 981 Nutmuttern

Legende:
d
= Durchmesser für metrisches Maß (M) (Nennmaß)
d2
= Durchmesser-Außen
Maße
= Nutkennziffer bei Nutmuttern
h
= Höhe-Mutter
d3
= Durchmesser-Innen
b
= Breite-Nut
t
= Tiefe-Nut

MaßeKM0KM1KM2KM3KM4KM5KM6KM7KM8KM9KM10KM11
dM10x0,75M12x1M15x1M17x1M20x1M25x1,5M30x1,5M35x1,5M40x1,5M45x1,5M50x1,5M55x2
d2182225283238455258657075
d313,51721242632384450566167
h445567789101111
b334445556667
t222222222,52,52,53
SicherungMB0MB1MB2MB3MB4MB5MB7MB7MB8MB9MB10MB11
MaßeKM12KM13KM14KM15KM16KM17KM18KM19KM20KM21KM22KM23
dM60x2M65x2M70x2M75x2M80x2M85x2M90x2M95x2M100x2M105x2M110x2M115x2
d280859298105110120125130140145150
d37379859095102108113120126133137
h111212131515161718181919
b778888101010121212
t333,53,53,53,5444555
SicherungMB12MB13MB14MB15MB16MB17MB18MB19MB20MB21MB22MB23
MaßeKM24KM25KM26KM27KM28KM30KM31KM32KM34   
dM120x2M125x2M130x2M135x2M140x2M150x2M155x3M160x3M165x3   
d2155160165175180195200210210   
d3138148149160160171182182193   
h202121222224252526   
b121212141414161616   
t555666777   
SicherungMB24MB25MB26MB27MB28MB30MB31MB32MB33   

weitere Informationen

 

Kombination: Nutmuttern und Sicherungsbleche

Meist werden Nutnummern zusammen mit Sicherungsblechen mit einem oder zwei Lappen verwendet. Die Sicherungsbleche sollen das eigenständige Lösen der Nutmutter unterbinden.

Alle Angaben ohne Gewähr, Gewährleistung oder Haftung.


Version 3.24.2 - Servername: WEBAPP12


 
 Warenkorb
Zur Kasse | Drucken
 
Ihr Warenkorb ist leer

DIN 912 Zylinderschrauben, mit Innensechskant

DIN 912 Zylinderschrauben, mit Innensechskant
 
Artikel-Nr. 2524-019
Werkstoff STAHL 8.8 - verzinkt
Norm DIN 912
Abmessung M 4 x 10

Art. Senkkopf -Spanplattenschrauben Fräsrippen, Schneidkerbe, Innensechsrund (TX)

Art. Senkkopf -Spanplattenschrauben Fräsrippen, Schneidkerbe, Innensechsrund (TX)
 
Artikel-Nr. 4291-024
Werkstoff ROSTFREI A2
Norm Art. 81928
Abmessung 4,5 x 50 TX
Hier finden Sie das zuletzt angesehene Produkt
Unsere App - jetzt online!
NEU im Sortiment: Zusätzlich über 15.000 neue Kleinmengen
Zertifizierung

Kundenbewertungen (2.153)
So entstehen unsere Kundenbewertungen

Unsere Kundenbewertungen einschließlich der Sternebewertungen können nur nach Bestellabschluss erstellt werden.

Dadurch ist sichergestellt, dass unser Bestellprozess, unser Service sowie unsere Produkte von echten Kunden bewertet werden, die ihre Erfahrungen mit ihnen teilen möchten.


"Wegertseder = Klasse Sortiment, übersichtlich, preiswert."
-

"Alles tiptop. Ich bestelle sehr gerne bei Ihnen. :-)"
-

"Einfacher Bestellprozess wenn man mal herausgefunden hat, wie man wieder auf die Startseite mit der Produktübersicht zurückkommt... Hier wäre ein dauerhafter Link in der Navigationsspalte links hilfreich."
-

"immer sehr gute Erklärung/Info, denn ich habe keinerlei technische Ausbildung, nur Hobby/Landwirtschaft"
- Friedrich Rauchenwald

"gern wieder"
- Sven Wallasch

Unsere Cookie-Richtlinien

Wir nutzen Cookies, um unsere Seite für Sie bestmöglich zu gestalten und dauerhaft zu verbessern. Weitere Informationen erhalten Sie in unserer Datenschutzerklärung. Ohne Ihre Zustimmung werden nur technisch notwendige Cookies verwendet.
AKZEPTIEREN
ABLEHNEN