DIN 7344 Spiral-Spannstifte (Spannhülsen), schwere Ausführung
ähnlich ISO 8748 Spiral-Spannstifte (Spannhülsen), schwere Ausführung: keine gravierenden Änderungen

DIN 7344 Spiral-Spannstifte (Spannhülsen) schwere Ausführung sind gebogene, mehrfach gewickelte, Metallplättchen, welche durch ein passgenaues Bohrloch in ein Werkstück eingetrieben werden, um es zu sichern. Achten Sie darauf, dass die Spannhülse kein Spiel hat und genau passt, z. B. wird eine Spannhülse mit einem Hammer eingetrieben. Die schwere Ausführung hat eine dickere Wandstärke und kann mehr Kraft aufnehmen. mehr ...


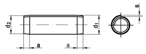
Technische Maße für DIN 7344 Spiral-Spannstifte (Spannhülsen), schwere Ausführung

Legende:
Maße
= Durchmesser (Nennmaß)
s
= Stärke (Blech)
a
= Länge-Fase
d1
= Durchmesser-Außen
d2
= Durchmesser-Innen

Maße 1,5 2 2,5 3 4 5 6 8
a 0,5 0,7 0,8 1 1,3 1,7 2 2
s 0,17 0,22 0,28 0,33 0,45 0,56 0,67 0,90
d1 1,6 2,1 2,6 3,12 4,15 5,15 6,25 8,25
d2 1,4 1,9 2,35 2,85 3,8 4,8 5,8 7,80
Abscherkraft (kN), nur für Federstahl 1,9 3,5 5,5 7,6 13,5 20 30 53

weitere Informationen

 

Unterscheidung von Spannstiften (Spannhülsen)

Grundsätzlich unterscheidet man Spannstifte der leichten Form mit geringer und Spannstifte der schweren Form mit erhöhter Wandstärke für Anwendungen mit höheren Kräften.

a) Spannstifte leichte Form

Hier unterscheidet man offene Spannhülsen (DIN 7346) oder geschlossene, mehrfach gewickelte Spannstifte (DIN 7343).

b) Spannstifte schwere Form

Auch hier teilen sich die Spannstifte in solche mit einer seitlich durchgehenden Öffnung (DIN 1481) oder Spiral-Spannstiften, die geschlossen und mehrfach gewickelt sind (DIN 7344).

 

Einsatzbereich von Spannhülsen DIN 7344

Verwendet werden Spannhülsen DIN 7344 meist im Maschinen- und Anlagenbau, im Kfz-Bereich, bei Oldtimern oder auch zur Verbindung von Metallen im Holzbau. Sie haben durch die mehrfache Wickelung und die erhöhte Wandstärke eine sehr große Beständigkeit gegenüber auftretenden Kräften.

 

Lieferbare Werkstoffe

Spannhülsen DIN 7344 liefern wir als  Federstahl.

Alle Angaben ohne Gewähr, Gewährleistung oder Haftung.


Version 3.24.2 - Servername: WEBAPP12


 
 Warenkorb
Zur Kasse | Drucken
 
Ihr Warenkorb ist leer

DIN 125 Unterlegscheiben Form A

DIN 125 Unterlegscheiben Form A
 
Artikel-Nr. 1498-298
Werkstoff ROSTFREI A2
Norm DIN 125A
Abmessung A 4,3 f. M 4

Art. Spanplattenschrauben, Innensechsrund (TX), Senkkopf, Vollgewinde, Importware

Art. Spanplattenschrauben, Innensechsrund (TX), Senkkopf, Vollgewinde, Importware
 
Artikel-Nr. 4405-013
Werkstoff ROSTFREI A4
Norm Art. 81939
Abmessung 3,5 x 45 TX
Hier finden Sie das zuletzt angesehene Produkt
Unsere App - jetzt online!
NEU im Sortiment: Zusätzlich über 15.000 neue Kleinmengen
Zertifizierung

Kundenbewertungen (2.155)
So entstehen unsere Kundenbewertungen

Unsere Kundenbewertungen einschließlich der Sternebewertungen können nur nach Bestellabschluss erstellt werden.

Dadurch ist sichergestellt, dass unser Bestellprozess, unser Service sowie unsere Produkte von echten Kunden bewertet werden, die ihre Erfahrungen mit ihnen teilen möchten.


"ich sags immer wieder NICHTS ändern! Ihr seid TOP!! Euer Versand ist der absolute OBERHAMMER * * * * *"
- Uwe Krippner

"Bestelle jetzt schon seit Jahren, noch nie eine Reklamation. Weiter so."
-

"Ihr seid die Besten! So solle es sein, Germany statt China! DANKE!"
- Konrad Wagner

"gern wieder"
- Sven Wallasch

"Ich kaufe seit einigen Jahren nur noch über Ihren Shop die benötigten Schrauben und Normteile, da eigentlich jede Größe zu finden ist und die Lieferung sehr zügig geht."
-

Unsere Cookie-Richtlinien

Wir nutzen Cookies, um unsere Seite für Sie bestmöglich zu gestalten und dauerhaft zu verbessern. Weitere Informationen erhalten Sie in unserer Datenschutzerklärung. Ohne Ihre Zustimmung werden nur technisch notwendige Cookies verwendet.
AKZEPTIEREN
ABLEHNEN