DIN 71752 Gabelkopf Form G

DIN 71752 Gabelköpfe Form G sind Bauteile zur Herstellung eines speziellen Drehgelenks zwischen einem Gabelkopf und weiteren Bauteilen mit genau einem Freiheitsgrad. Dazu passend sind DIN 71752 Federklappbolzen. Eingesetzt werden Gabelgelenke, und damit auch Federklappbolzen, wo einfache Bewegungsabläufe stattfinden, wie z. B. lineares Schieben, Ziehen oder Achsversatzausgleiche. Die Gelenkverbindung ist auch ohne Montagewerkzeug schnell hergestellt und gelöst. mehr ...


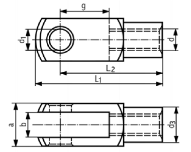
Technische Maße für DIN 71752 Gabelkopf Form G

Legende:
a
= Höhe-Gesamt
d1
= Durchmesser-Bohrung
b
= Abstand-Bohrung
L2
= lichte Weite
L1
= Länge-Gesamt
d x g
= keine Erfassung
d3
= Durchmesser-Außen

d x g 5 x 10 5 x 20 6 x 12 6 x 24 8 x 16 8 x 32 10 x 20 10 x 40 12 x 24 12 x 48 14 x 28 14 x 56 16 x 32 16 x 64
L1 26 36 31 43 42 58 52 72 62 86 72 101 83 115
L2 20 30 24 36 32 48 40 60 48 72 56 85 64 96
d1 5 5 6 6 8 8 10 10 12 12 14 14 16 16
d3 9 9 10 10 14 14 18 18 20 20 24 24 26 26
a 10 10 12 12 16 16 20 20 24 24 27 27 32 32
b 5 5 6 6 8 8 10 10 12 12 14 14 16 16

weitere Informationen

 

Werkstoff und Verwendung von DIN 71752 Gabelköpfen Form G

Dieses Produkt liefern wir in Stahl verzinkt. Gabelköpfe werden im Maschinen- und Anlagenbau eingesetzt.

Alle Angaben ohne Gewähr, Gewährleistung oder Haftung.


Version 3.24.2 - Servername: WEBAPP11


 
 Warenkorb
Zur Kasse | Drucken
 
Ihr Warenkorb ist leer

DIN 912 Zylinderschrauben, mit Innensechskant

DIN 912 Zylinderschrauben, mit Innensechskant
 
Artikel-Nr. 2534-280
Werkstoff ROSTFREI A2
Norm DIN 912
Abmessung M 3 x 10

Art. Blechschrauben mit Zylinderkopf, mit Innensechskant, Kopf ähnlich DIN 912

Art. Blechschrauben mit Zylinderkopf, mit Innensechskant, Kopf ähnlich DIN 912
 
Artikel-Nr. 4293-004
Werkstoff ROSTFREI A4
Norm Art. 81808
Abmessung C 4,8 x 100
Hier finden Sie das zuletzt angesehene Produkt
Unsere App - jetzt online!
NEU im Sortiment: Zusätzlich über 15.000 neue Kleinmengen
Zertifizierung

Kundenbewertungen (2.155)
So entstehen unsere Kundenbewertungen

Unsere Kundenbewertungen einschließlich der Sternebewertungen können nur nach Bestellabschluss erstellt werden.

Dadurch ist sichergestellt, dass unser Bestellprozess, unser Service sowie unsere Produkte von echten Kunden bewertet werden, die ihre Erfahrungen mit ihnen teilen möchten.


"Alles bestens schnelle Lieferungen"
- Marko Hanke

"Seit 35 Jahren zufriedener Kunde"
- Jürgen Haus

"Ihr seid die Besten! So solle es sein, Germany statt China! DANKE!"
- Konrad Wagner

"Meine erste Adresse!"
- Heiner Schnorrenberg

"Alles toll, da ich das erste Mal bei Euch bestelle, kann ich zu der Lieferzeit und Verpackung nichts sagen. Ein entspanntes Wochenende und ich hoffe, das GLS morgen anliefert... ;-)"
- Michael Diekmann

Unsere Cookie-Richtlinien

Wir nutzen Cookies, um unsere Seite für Sie bestmöglich zu gestalten und dauerhaft zu verbessern. Weitere Informationen erhalten Sie in unserer Datenschutzerklärung. Ohne Ihre Zustimmung werden nur technisch notwendige Cookies verwendet.
AKZEPTIEREN
ABLEHNEN