DIN 70952 Sicherungsbleche für Nutmutter nach DIN 70852

DIN 70952 Sicherungsbleche für Nutmuttern nach DIN 70852 sind gestanzte Metallplatten, die über Sicherungszacken auf der einen und einer Nut auf der anderen Seite verfügen. Sie haben ein rundes Innenloch. Sicherungsbleche sind Stanzteile aus Blech, welche durch die Lappen eine Sicherungswirkung entfalten. Wenn sie aufgebogen werden, verhindert die Lasche die Drehung eines Sechskantkopfes. Wir liefern diese Sicherungsbleche nur in Stahl blank. mehr ...


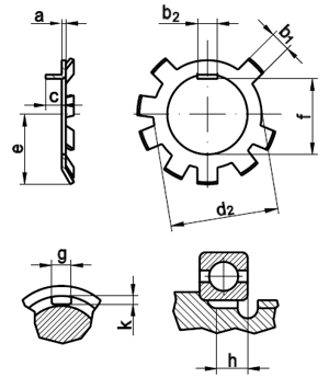
Technische Maße für DIN 70952 Sicherungsbleche für Nutmutter nach DIN 70852

Legende:
a
= Stärke (Blech)
d2
= Durchmesser-Außen
b2
= Breite-Nase
c
= Höhe-Nase
Maße
= Durchmesser-Welle (Nennmaß)
f
= Durchmesser-Innen
e
= Radius
b1
= Breite-Sicherungsfahne

Maße10121416182022242628303235384042
a0,750,750,7511111111,21,21,21,21,21,2
b14445556666666667
b24455556667777888
c3333444455555555
d216182023252730323436384143474952
e11121314,516,517,5192022232425,526,528,529,531
f8,910,912,914,916,918,920,922,924,926,928,930,933,936,638,640,6
Maße4548505255606570758090100112120130 
a1,21,21,21,21,21,51,51,51,51,51,51,51,51,51,5 
b17777710101010101012121212 
b288881010101010101012121212 
c5556666677788810 
d254576062677176818691103116133138148 
e3233,5353739,541,54446,55052,558,56674,57784 
f43,646,748,750,753,758,763,768,773,278,288,298,2113,3118,3128,3 

weitere Informationen

 

Kombination: DIN 70852 Nutmuttern und Sicherungsbleche DIN 70952

Meist werden Nutnummern zusammen mit Sicherungsblechen mit einem oder zwei Lappen verwendet. Die Sicherungsbleche sollen das eigenständige Lösen der Nutmutter unterbinden.

Alle Angaben ohne Gewähr, Gewährleistung oder Haftung.


Version 3.24.2 - Servername: WEBAPP11


 
 Warenkorb
Zur Kasse | Drucken
 
Ihr Warenkorb ist leer

DIN 934 Sechskantmuttern

DIN 934 Sechskantmuttern
 
Artikel-Nr. 2896-158
Werkstoff ROSTFREI A2
Norm DIN 934
Abmessung M 8

Art. PAN-HEAD-Spanplattenschrauben, Innensechsrund (TX), Importware

Art. PAN-HEAD-Spanplattenschrauben, Innensechsrund (TX), Importware
 
Artikel-Nr. 4283-011
Werkstoff ROSTFREI A4
Norm Art. 81900
Abmessung 4 x 55 TX
Hier finden Sie das zuletzt angesehene Produkt
Unsere App - jetzt online!
NEU im Sortiment: Zusätzlich über 15.000 neue Kleinmengen
Zertifizierung

Kundenbewertungen (2.155)
So entstehen unsere Kundenbewertungen

Unsere Kundenbewertungen einschließlich der Sternebewertungen können nur nach Bestellabschluss erstellt werden.

Dadurch ist sichergestellt, dass unser Bestellprozess, unser Service sowie unsere Produkte von echten Kunden bewertet werden, die ihre Erfahrungen mit ihnen teilen möchten.


"Anmerkung zur letzten Frage: bereits mehrfach weiterempfohlen"
-

"Wegertseder = Klasse Sortiment, übersichtlich, preiswert."
-

"Bin zufrieden, hat immer aller geklappt -:) "
-

"Hallo, für unseren kleinen Betrieb ist soweit alles in Ordnung. Wir sind sicher kein großer, aber ein langjähriger Kunde. Bitte weiter so. Thomas H. "
-

"Weiter so !"
-

Unsere Cookie-Richtlinien

Wir nutzen Cookies, um unsere Seite für Sie bestmöglich zu gestalten und dauerhaft zu verbessern. Weitere Informationen erhalten Sie in unserer Datenschutzerklärung. Ohne Ihre Zustimmung werden nur technisch notwendige Cookies verwendet.
AKZEPTIEREN
ABLEHNEN