DIN 703 Stellringe schwere Reihe, mit Gewindestift DIN 914

DIN 703 Stellringe schwere Reihe mit Gewindestift DIN 914 sind Metallzylinder einer bestimmten Höhe, welche am Rand eine Bohrung mit Innengewinde haben. Sie sind besonders massiv ausgeführt. Durch die Bohrung wird ein mitgelieferter Gewindestift eingedreht. Dieser Stift drückt sich in die im Innenloch befindliche Schraube oder den Bolzen, wodurch eine Sicherungswirkung eintritt. Der Gewindestifte hat einen Innensechskant-Antrieb und eine Spitze. Er kann mit einem handelsüblichen Winkelstiftschlüssel verarbeitet werden. Diese DIN 703 Stellringe schwere Reihe, mit Gewindestift DIN 914 bieten wir in Stahl blank an.


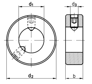
Technische Maße für DIN 703 Stellringe schwere Reihe, mit Gewindestift DIN 914

Legende:
Maße
= Durchmesser-Innen (Nennmaß)
b
= Höhe
d2
= Durchmesser-Außen
d3
= Durchmesser-Bohrung

Maße 20 25 30 35 40 45 50 60 70 80 90 100
d2 40 56 63 70 80 80 90 100 110 125 125 140
d3 M10 M10 M10 M10 M12 M12 M12 M12 M16 M16 M16 M16
b 20 22 22 22 28 28 28 28 32 32 32 32
Gewindestift M10x15 M10x15 M10x15 M10x15 M12x20 M12x20 M12x20 M12x20 M16x20 M16x20 M16x20 M16x25

weitere Informationen

Alle Angaben ohne Gewähr, Gewährleistung oder Haftung.


Version 3.24.2 - Servername: WEBAPP11


 
 Warenkorb
Zur Kasse | Drucken
 
Ihr Warenkorb ist leer

DIN 912 Zylinderschrauben, mit Innensechskant

DIN 912 Zylinderschrauben, mit Innensechskant
 
Artikel-Nr. 2524-047
Werkstoff STAHL 8.8 - verzinkt
Norm DIN 912
Abmessung M 5 x 25

Art. Senkkopf -Spanplattenschrauben Fräsrippen, Schneidkerbe, Innensechsrund (TX)

Art. Senkkopf -Spanplattenschrauben Fräsrippen, Schneidkerbe, Innensechsrund (TX)
 
Artikel-Nr. 4287-052
Werkstoff ROSTFREI A4
Norm Art. 81928
Abmessung 8 x 130 TX
Hier finden Sie das zuletzt angesehene Produkt
Unsere App - jetzt online!
Die Wegertseder-App: Große Auswahl an Schrauben, Muttern, Nieten, ...
Zertifizierung

Kundenbewertungen (2.155)
So entstehen unsere Kundenbewertungen

Unsere Kundenbewertungen einschließlich der Sternebewertungen können nur nach Bestellabschluss erstellt werden.

Dadurch ist sichergestellt, dass unser Bestellprozess, unser Service sowie unsere Produkte von echten Kunden bewertet werden, die ihre Erfahrungen mit ihnen teilen möchten.


"Alles bestens schnelle Lieferungen"
- Marko Hanke

"Klasse...weiter so!!!!!!!"
-

"Weiter so!!!!"
-

"Ihr seid prima! Die schnelle Lieferung spart Lagerkosten. Auch die Maßübersichten sind prima! Grade bei Normteilen ist es schön, so einen verläßlichen Lieferanten zu haben - eine Sorge weniger! "
-

"Leider sind nicht alle Dinge im Onlineshop bestellbar"
- Stefan Wilhelm

Unsere Cookie-Richtlinien

Wir nutzen Cookies, um unsere Seite für Sie bestmöglich zu gestalten und dauerhaft zu verbessern. Weitere Informationen erhalten Sie in unserer Datenschutzerklärung. Ohne Ihre Zustimmung werden nur technisch notwendige Cookies verwendet.
AKZEPTIEREN
ABLEHNEN