DIN 562 Vierkantmuttern niedrige Form, Produktklasse C

DIN 562 Vierkantmuttern niedrige Form sind besonders niedrige, viereckige Muttern mit Innengewinde. Vierkantmuttern wurden früher häufiger eingesetzt als heute. Heutzutage werden stattdessen Sechskantmuttern mit Außensechskant eingesetzt, weil es für diese passende Ring- Gabelschlüssel gibt, die weltweit verbreitet sind. Bei Vierkantmuttern ist stattdessen ein Vierkantschlüssel erforderlich, der nicht zur Grundausstattung jeder Werkstatt gehört. Seitdem fristet die Vierkantmutter ein Nischendasein. mehr ...


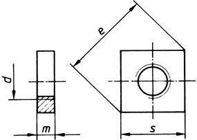
Technische Maße für DIN 562 Vierkantmuttern niedrige Form, Produktklasse C

Legende:
Maße (d)
= Durchmesser für metrisches Maß (M) (Nennmaß)
m
= Höhe-Gesamt
s
= Schlüsselweite
e min.
= Eckenmaß

Maße (d) M 1,6 M 2 M 2,5 M 3 M 4 M 5 M 6 M 8 M 10
s 3,2 4 5 5,5 7 8 10 13 17
e min. 4 5 6,3 7 8,9 10,2 12,7 16,5 21,5
m 1 1,2 1,6 1,8 2,2 2,7 3,2 4 5

weitere Informationen

 

Verwendung von DIN 562 Vierkantmuttern niedrige Form

Vierkantmuttern werden heute vor allem in der Elektrotechnik oder im IT-Bereich als Einlegemutter verwendet. Einlegemuttern werden in ein Gehäuseprofil oder ein Gehäuse eingeschoben, um das Bauteil damit zu befestigen. Manchmal werden Vierkantmuttern auch in Aluprofilen eingelegt, um Bauteile zu sichern. Die niedrige Form wird besonders dann verwendet, wenn wenig Platz zur Verfügung steht.

 

Arten und Werkstoffe bei DIN 562 Vierkantmuttern niedrige Form

Wir bieten die Vierkantmuttern in DIN 562 als niedrige, flache Form oder in der normalen Bauhöhe als DIN 557 an. Bei den Werkstoffen dominieren blanke oder galvanisch verzinkte Stähle oder Edelstahl Rostfrei A2 und A4.

Alle Angaben ohne Gewähr, Gewährleistung oder Haftung.


Version 3.24.2 - Servername: WEBAPP11


 
 Warenkorb
Zur Kasse | Drucken
 
Ihr Warenkorb ist leer

DIN 933 Sechskantschrauben, Gewinde bis Kopf

DIN 933 Sechskantschrauben, Gewinde bis Kopf
 
Artikel-Nr. 2748-093
Werkstoff STAHL 8.8 - verzinkt
Norm DIN 933
Abmessung M 8 x 16

DIN 7983 Linsen-SENK-Blechschrauben mit Innensechsrund (TX), C= mit Spitze

DIN 7983 Linsen-SENK-Blechschrauben mit Innensechsrund (TX), C= mit Spitze
 
Artikel-Nr. 4279-014
Werkstoff ROSTFREI A4
Norm DIN 7983TX
Abmessung C 4,8 x 120 TX
Hier finden Sie das zuletzt angesehene Produkt
Unsere App - jetzt online!
NEU im Sortiment: Wir haben unser Dübelsortiment erweitert
Zertifizierung

Kundenbewertungen (2.155)
So entstehen unsere Kundenbewertungen

Unsere Kundenbewertungen einschließlich der Sternebewertungen können nur nach Bestellabschluss erstellt werden.

Dadurch ist sichergestellt, dass unser Bestellprozess, unser Service sowie unsere Produkte von echten Kunden bewertet werden, die ihre Erfahrungen mit ihnen teilen möchten.


"Klasse...weiter so!!!!!!!"
-

"Bitte Bitte Bitte so lassen!! Nix ändern!!"
- Uwe Krippner

"immer sehr gute Erklärung/Info, denn ich habe keinerlei technische Ausbildung, nur Hobby/Landwirtschaft"
- Friedrich Rauchenwald

"Insgesamt sehr zufrieden. Hutmuttern M6 hohe Form aus Aluminium vermisse ich noch. Schönen Tag noch."
-

"Sehr guter Kundenservice "
-

Unsere Cookie-Richtlinien

Wir nutzen Cookies, um unsere Seite für Sie bestmöglich zu gestalten und dauerhaft zu verbessern. Weitere Informationen erhalten Sie in unserer Datenschutzerklärung. Ohne Ihre Zustimmung werden nur technisch notwendige Cookies verwendet.
AKZEPTIEREN
ABLEHNEN