DIN 15237 Tellerschrauben mit Tellerscheibe, mit Mutter

sind eine Sonderschraube mit metrischem Regelgewinde und kurzem Schaft sowie einem runden Tellerkopf, welcher an der Unterseite kleine Einkerbungen hat. Sie werden zusammen mit einer passenden, halbrunden, Tellerscheibe und einer Sechskantmutter geliefert. mehr ...


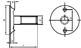
Technische Maße für DIN 15237 Tellerschrauben mit Tellerscheibe, mit Mutter

Legende:
Maße (d)
= Durchmesser metrisches Gewinde (M) (Nennmaß)
d1
= Durchmesser-Kopf
k
= Höhe-Kopf
g
= Höhe-Kopfansatz
a
= Klemmbereich

Maße (d) M 6 M 8 M 10 M 12
k 2,5 3,5 4,5 5,2
g 3,5 5 6 7
a 14 20 25 30
d1 20 28 35 42

weitere Informationen

 

Verwendung und Werkstoffe von DIN 15237 Tellerschrauben

Tellerschrauben werden meist im Bereich von Elevatorbechern mit bombierten Löchern im Maschinen- und Anlagenbau verwendet. Lieferbar sind Tellerschrauben in Stahl blank 3.6 mit geringer Festigkeit.

Alle Angaben ohne Gewähr, Gewährleistung oder Haftung.


Version 3.24.2 - Servername: WEBAPP12


 
 Warenkorb
Zur Kasse | Drucken
 
Ihr Warenkorb ist leer

DIN 9021 Scheiben, Außendurchmesser = 3x Schraubendurchmesser

DIN 9021 Scheiben, Außendurchmesser = 3x Schraubendurchmesser
 
Artikel-Nr. 1556-202
Werkstoff ROSTFREI A2
Norm DIN 9021
Abmessung 3,2 f. M 3

DIN 7504 Bohrschrauben N mit Linsenkopf, Blechschraubengewinde PZ-Kreuzschlitz

DIN 7504 Bohrschrauben N mit Linsenkopf, Blechschraubengewinde PZ-Kreuzschlitz
 
Artikel-Nr. 4259-016
Werkstoff ROSTFREI A2
Norm DIN 7504NZ
Abmessung N 5,5 x 40 Z
Hier finden Sie das zuletzt angesehene Produkt
Unsere App - jetzt online!
NEU im Sortiment: Zusätzlich über 15.000 neue Kleinmengen
Zertifizierung

Kundenbewertungen (2.163)
So entstehen unsere Kundenbewertungen

Unsere Kundenbewertungen einschließlich der Sternebewertungen können nur nach Bestellabschluss erstellt werden.

Dadurch ist sichergestellt, dass unser Bestellprozess, unser Service sowie unsere Produkte von echten Kunden bewertet werden, die ihre Erfahrungen mit ihnen teilen möchten.


"ja, alle beim THW finden den Shop toll ;-)"
-

"Ich kaufe nun schon sehr lange bei Schrauben Wegertseder ein. Die Lieferung war immer sehr schnell und die Ware war wie beschrieben in hervorragender Qualität."
- Hartmund Lawrenz

"macht einfach Spaß, bei Ihnen einzukaufen!"
-

"Es funktioniert einfach, im wahsten Sinne des Wortes - Vielen Dank dafür."
-

"Weiter so . . ."
-

Unsere Cookie-Richtlinien

Wir nutzen Cookies, um unsere Seite für Sie bestmöglich zu gestalten und dauerhaft zu verbessern. Weitere Informationen erhalten Sie in unserer Datenschutzerklärung. Ohne Ihre Zustimmung werden nur technisch notwendige Cookies verwendet.
AKZEPTIEREN
ABLEHNEN